tsi logo

SEARCH

横贯热技术

商品编号: T1D
停产

Product Details

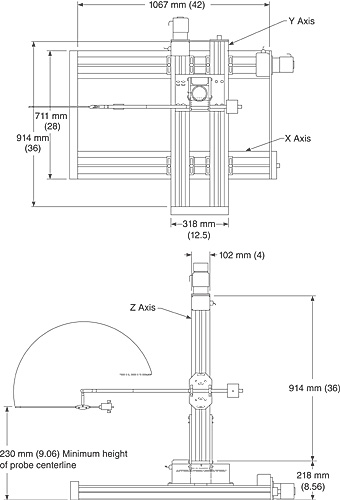
TSI 提供三种不同的电脑控制的坐标架,每种都可以实现一个探头的精确定位及移动。作为风速仪系统的一部分,它们可实现自动测量或远程操作。通常情况下,使用 TSI 的 ThermalPro™ 软件控制它们,客户自定义的矢量可标识测量点。它们使用前面板单独控制,并显示供电情况。

所有一切可确保整个平移范围的稳定操作。600 mm 平移配备 10 微米分辨率,绝对值和相对的归位能力,并且通用探头可倾斜安装。这三种模式的区别仅在于它们提供的轴运动不同。

1191 型提供横向运动,1192 型提供水平和垂直运动,而 1193 型提供轴运动,使用的供电都为 110 V、50/60 Hz 。1191E、 1192E 和 1193E 型分别具有一个、两个和三个轴移动系统,使用的供电都为 220 V、50/60 Hz。

特点及优势  

  • 热风速风力测定探头的精确定位及运动
  • 集成 ThermalPro 软件
  • 高稳定性,并可重复操作
  • 高达三个运动轴

应用范围  

  • 通用流量测量应用
  • 精确的流场绘图